Чувствительный элемент MR828
Чувствительный элемент MR828 предназначен для измерения температуры в аналитических и медицинских приборах, установках химической промышленности, а также в машиностроении.
Особенности:
- Pt – элемент, заключенный в защитную керамическую втулку
- Превосходная долговременная стабильность и низкий дрейф
- Высокая виброустойчивость и ударопрочность
- Оптимизирован для сварки, пайки и обжима
Технические характеристики
| Параметр | Значение | ||
| Диапазон измерения температуры | −70…+500°C | ||
| Градуировка | Pt1000 | ||
| Класс | В | ||
| Сопротивление при +25°С | 1 кОм | ||
| Длина монтажной части | 8 мм | ||
| Диаметр монтажной части | 2,8 мм | ||
| Длина кабельного вывода | 6 мм | ||
| Схема подключения | 2-проводная | ||
| Подключение | Провода под пайку | ||
| Изоляция | Керамика | ||
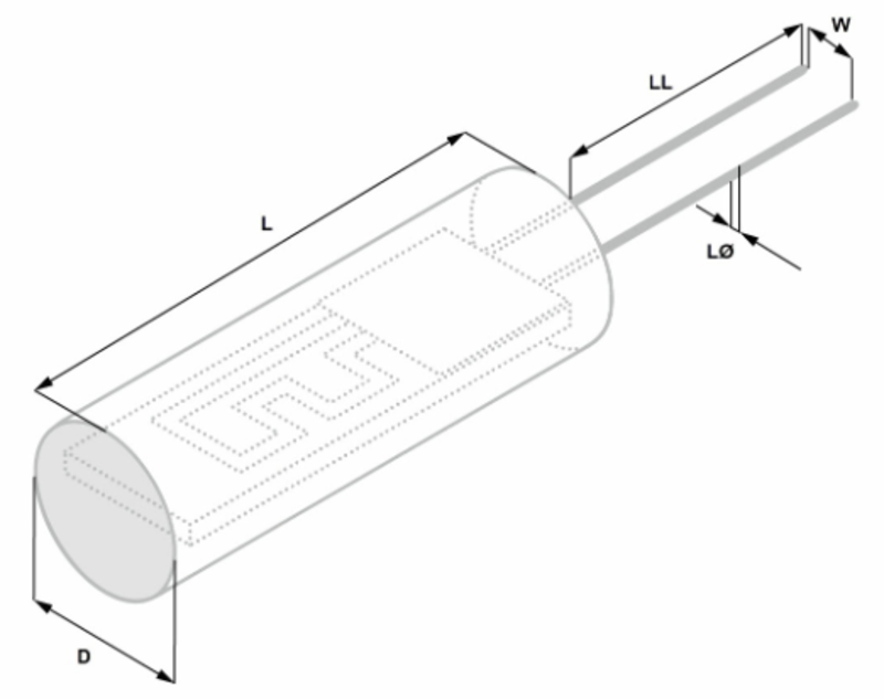
| Габаритные размеры |
![]() |
| Размер, мм | ||||
| L | D | LL | L | W |
| 8 | 2,8 | 6 | 0,2 | 0,7 |
Присоединение к преобразователю:
—
Присоединение к термодатчику:
—
Материал:
—
Условное давление:
—
Температура среды:
—
Длина погружной части:
—
Наружный диаметр:
—
Присоединение:
—
Для датчиков со штуцером:
—
Проверка диодов и транзисторов:
—
Высота:
—
Крепежная резьба:
—
Внешний диаметр датчика:
—
Использование:
—
Материал уплотнения:
—
Материал штуцера:
—
Максимальная рабочая температура:
—
Максимальное рабочее давление:
—
Максимально допустимая температура:
—
Типы вилок:
—
Номинальная статическая характеристика:
—
Для датчиков диаметром:
—
Максимальный диаметр провода:
—
Диаметр:
—
Толщина стенки:
—
Длина:
—
Наружные размеры:
—
Количество отверстий:
—
Диаметр отверстий:
—
Рабочий диапазон температур:
—
Максимальный диаметр колодки:
—
Расстояние между крепежными отверстиями:
—
Количество крепежных отверстий:
—
Присоединение защитной арматуры для датчика:
—
Присоединение кабеля:
—
Рабочая температура:
—
Материал корпуса:
—
Материал уплотнений:
—
Cтепень пылевлагозащиты:
—
Тип:
—
Корпус:
—
Максимально допустимая температура на разъеме:
—
Варианты комплектации:
—
Взрывозащита:
—
Длина монтажной части:
—
8 мм
Диаметр монтажной части:
—
2,8 мм
Диаметр колодки:
—
Расстояние между монтажными отверстиями:
—
Количество контактов:
—
Количество монтажных отверстий:
—
Материал контактов:
—
Цвет:
—
Длина керамической части:
—
Длина металлической части:
—
Диаметр керамической части:
—
Диаметр металлической части:
—
Предназначен:
—
Наружная резьба:
—
Уплотнение:
—
Для датчиков с длиной монтажной части:
—
Крепление датчика:
—
Материал гильзы:
—
Материал погружной гильзы:
—
Наружный диаметр гильзы:
—
Внутренний диаметр гильзы:
—
Подходит:
—
Диапазон давлений:
—
Диаметр гильзы:
—
Количество упоров:
—
Градуировка:
—
Pt1000
Класс:
—
B
Изоляция:
—
керамика
Длина выводов:
—
Длина датчика:
—
Диапазон измерения температуры:
—
−70…+500°C
Система:
—
Длина кабельного вывода:
—
6 мм
Подключение:
—
провода под пайку
Сопротивление при +25°С:
—
1 кОм
Максимальная температура эксплуатации:
—
Для труб диаметром:
—
Состав комплекта:
—
Длина пружины:
—
Класс допуска:
—
Диаметр головки:
—
Тип сенсора:
—
Тип спая:
—
Материал пружинной контактной площадки:
—
Внутренний диаметр:
—
Внешний диаметр:
—
Диаметр гнезда под датчик:
—
Длина гильзы:
—
Тип резьбы:
—


