Датчик-реле уровня РОС-301

Рекомендуем
Артикул: A9230

Прибор для контроля (сигнализации) трех уровней электропроводных жидкостей по трем независимым каналам в одном или различных резервуарах

От 9 000 руб.

Характеристики

Максимальное количество контролируемых уровней:
3
Входные сигналы:
Выходной сигнал:
Выход:
Светодиодная индикация:
Узнать цену

Кондуктометрический датчик-реле уровня жидкости РОС-301 предназначен для контроля (сигнализации) трех уровней электропроводных жидкостей по трем независимым каналам в одном или различных резервуарах.

Технические характеристики

Параметр Значение
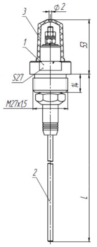
Длина погружаемой части датчика  600 мм
Рабочее давление ≤2,5 МПа
Напряжение питания ~220 В, 50 Гц
Потребляемая мощность ≤4 В•А
Напряжение тока на электродах ≤~6 В
Реле =5 А, 30 В
~5 А, 250 В
Верхнее значение сопротивления срабатывания
- Для сред с высокой электропроводностью
- Для сред со средней электропроводностью
- Для сред с низкой электропроводностью

1 кОм
10 кОм
100 кОм
Материал погружаемого электрода Сталь 12Х18Н10Т ГОСТ 5632-72
Защита IP54
Вес
- ППР
- Датчик

≤2 кг
≤0,65 кг

 

Материал датчика Параметры контролируемой среды Длина погружаемой части датчика L, м Исполнение датчика
Материал электрода, погружаемого в контролируемую среду Материал изолятора Температура контролируемой среды Рабочее давление, МПа
Сталь 12Х18Н10Т ГОСТ 5632-72 Фторопласт-4 ГОСТ 10007-80 +200°С 2,5 0,1 при горизонтальном монтаже
0,1; 0,25; 0,6; 1,0; 1,6; 2,0 при вертикальном монтаже
1; 5; 1Г; 5Г 7
Полиэтилен ГОСТ 16338-73 +80°С 2
Керамика +300°С 4

 

Габаритные размеры
Исполнения 1, 2, 5 Исполнения 1Г, 5Г, 7 Исполнение 4
Габаритные и установочные размеры преобразователя передающего
Максимальное количество контролируемых уровней:
3
Входные сигналы:
Выходной сигнал:
Выход:
Светодиодная индикация:
Колодка:
Монтаж:
Количество входов:
Количество выходов:
Количество алгоритмов:
Контакты:
Коммутационная способность:
Встроенный источник питания:
Интерфейсы:
Чувствительность:
Регулятор чувствительности:
Регулируемое время задержки:
Области применения:
котельные, пункты водоподготовки, очистные, дренажные, водонапорные сооружения, пожарные резервуары и водоемы, насосные станции, накопительные емкости, отстойники
Длина погружаемой части датчика:
600 мм
Реле:
=5 А, 30 В; ~5 А, 250 В
Рабочее давление:
2,5 МПа
Защита:
IP54
Типы датчиков:
Количество датчиков:
Исполнение:
Встроенный кабельный вывод:
Питание:
Диапазон переменного напряжения питания:
Потребляемая мощность:
Диапазон регулирования температуры:
Погрешность:
Количество выходных устройств:
Тип выхода:
Два прибора в одном:
Одновременное: